Ваш город Новосибирск?
Укажите город, чтобы видеть
наличие и сроки поставки

.jpg)




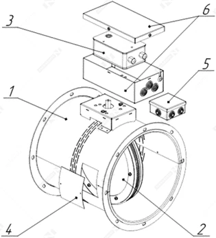
Устройство клапана:


КРУГЛЫЕ
Клапан противопожарный нормально закрытый KPNZ предназначен для установки в системах приточной и вытяжной противодымной вентиляции, предотвращающей поражающее воздействие на людей и (или) материальные ценности распространяющихся продуктов горения. Клапаны могут применяться также в технологических схемах. Исходное положение заслонки в клапане — закрытое.

ПРЯМОУГОЛЬНЫЕ
Клапаны противопожарные нормально закрытые KPNZ однолопаточные канальные прямоугольного сечения с приводом MN:
Характеристики внешней среды при эксплуатации и хранении клапана:
.jpg)
.png)
|